Роз'єм WF48K27ZI1 – двадцяти семи контактна герметична міжкабельна розетка з прямим виведенням під кабель. Має умовний посадковий діаметр 48 мм, з'єднує ланцюг зі струмом до 25А (1 контакт) і 10А (26 контактів) і напругою до 500В, кріплення дротів здійснюється пайкою.
Корпус цього конектора - герметичний та пилозахищений, з цинкового сплаву. Може комплектуватись захисною кришкою. Коннектор має захист - IP65
Діаметр контактів – 2,5 мм (1 контакт) і 1,5 мм (26 контактів). Провід, що приєднується, може мати переріз діаметром ≤ 11 мм2 (AWG ≤ 4) і ≤ 14 мм2 (AWG ≤ 2).
Застосування коннекторів Weipu серії WF48 може здійснюватися як усередині приміщення, так і зовні.
Підібрати відповідну частину можна у розділі ТУТ
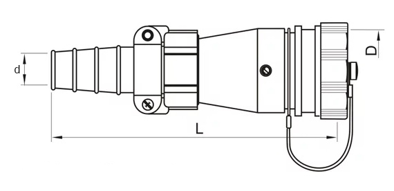
| Розміри та схема роз'ємів серії WF ZI з металевим механічним затискачем та гумовою втулкою | ||
![]() | ||
| Кількість контактів | 5, 7, 20, 27, 38, 42 | |
| ⌀D | 52x1.5 | |
| L | 137 | |
| ⌀d | 15.5-18.8 | |
| Характеристики роз'ємів WF-48 | |||||||||||
| Кількість контактів | 5 | 7 | 20 | 27 | 38 | 42 | |||||
| Діаметр контактів, мм | 5.5 | 3.5 | 2.5 | 1.5x26 / 2.5x1 | 1.5x33 / 2.5x5 | 1.5 | |||||
| Напруга | 500V | ||||||||||
| Тестова напруга | 1500V | ||||||||||
| Струм | 100A | 50A | 25A | 25A+10A | 25A+10A | 10A | |||||
| Опір контактам | 0.3 Ω | 0.5 Ω | 1 | 2.5 Ω/1 Ω | 2.5 Ω/1 Ω | 2.5 Ω | |||||
| Опір ізоляції | 2000 Ω | ||||||||||
| Розмір дроту | ≤ 25/3 | ≤ 10/7 | ≤ 4/11 | ≤ 2/14 ≤ 4/11 | ≤ 2/14 ≤ 4/11 | ≤ 2/14 | |||||
| Ступінь захисту | IP65 | ||||||||||
| Розшифровка маркування роз'ємів Weipu-WF | ||||||||||
| WF | 48 | K | 27 | ZI | 1 | |||||
| WF - серія роз'єму Weipu |
| 48 -типорозмір коннектора (16; 20; 24; 28; 32; 40; 48; 55) |
| К -розетка ( J - вилка) |
| 27 -кількість контактів (5, 7, 20, 27, 38, 42) |
| ZI - з металевим механічним затискачем та гумовою втулкою |
| 1 -кріплення дротів до контактів методом паяння |

